硅藻泥材料甲醛凈化性能艙是依據《JC T2177-2021》的標準來設計的,產品既可以檢測甲醛的凈化性能,也可以測試voc的凈化能力。
硅藻泥材料甲醛凈化性能艙由“環儀儀器”設計制造,產品包含“試驗艙”和“樣板架”兩個部分,結構示意圖如下所示:
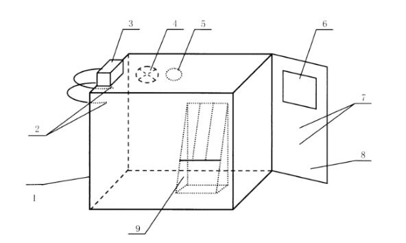
一、試驗艙結構:

標引序號說明:
1.試驗艙
2.送氣1(兩口間距不小于20cm)
3.氣體發生器
4.攪拌風扇
5.LED照明燈
6.觀察窗
7.采氣口(兩口間距不小于20cm)
8.試驗艙門
9.1個樣板架(共4個)
注:氣體發生器的氣體發生室應與試驗艙形成閉合回路。
二、樣板架結構:

標引序號說明:
1.加強筋:
2.樣板托。
注:加強筋數量可根據實際情況增減。
三、產品實物圖:
.jpg)
硅藻泥材料甲醛凈化性能艙的試驗艙系統主要包括了試驗艙和氣體發生器,當試驗的時候,需要在溫度(25±0.5)℃,相對濕度(50±5)%,甲醛濃度不超過0.02 mg/m3。








